新利体育

  • 新利体育非常重视您的个人隐私,当您访问新利体育的网站时,请同意使用的所有cookie。有关个人数据处理的更多信息可访问《隐私与保护政策》。

    humanoid-robot(1).jpg humanoid-robot(2).jpg

    人形机器人

    方案概述

    人形机器人作为高度复杂的机电一体化系统,其芯片需在实时控制、能效比、集成度、通信能力及可靠性等方面实现突破,比如高性能实时计算需支持多关节电机并行控制、传感器融合(IMU/力觉/视觉)、严苛的能效比、芯片具有高度集成与小封装 、高速实时通信和工业级可靠性。

    针对这些严格需求,新利体育凭借多年在存储、MCU微控制器、模拟产品等领域的技术积累,聚焦“高性能+高可靠性”,全面布局GD32 MCU、Flash、利基型DRAM,和模拟产品, 打造人形机器人核心控制系统一体化方案。

    方案优势

    新利体育基于Arm? Cortex?和RISC-V多核架构打造的GD32 MCU产品矩阵,构建了从基础控制到高性能计算的完整解决方案。该系列产品凭借卓越的能效比和硬实时响应特性,为人形机器人系统提供全栈式支持:

    运动控制:实现高精度多关节电机驱动

    主控系统:保障IMU/力觉/视觉传感器融合的实时处理

    扩展能力:通过丰富的外设接口满足机器人多模态传感需求

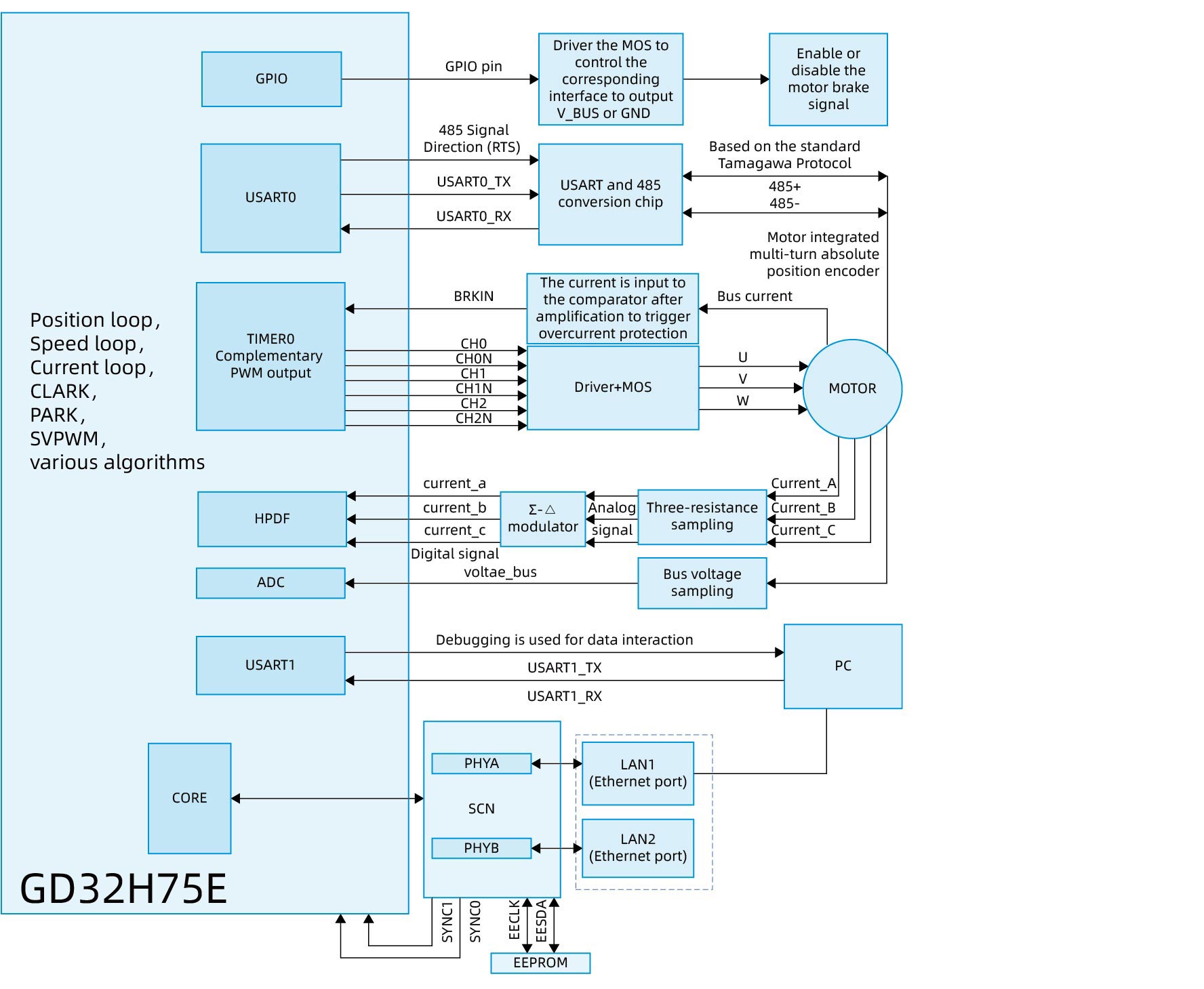
    【GD32H75E系列 MCU】

    专为伺服驱动、机器人关节控制及运动控制领域设计的高性能解决方案:

    核心架构:ARM? Cortex?-M7内核@600MHz
    网络特性:集成EtherCAT控制器及双PHY,节省30%PCB面积
    计算加速:搭载TMU/硬件DSP/FPU单元,算法效率提升40%
    模拟资源:高精度ADC/DAC/Comparator组合
    接口配置:3路CAN-FD+8路高速串口,支持多轴协同控制

    【GD32G5系列 MCU】
    面向机器人传感与执行系统的优化方案:

    信号采集:4x12位ADC(5.3MSPS)+4x12位DAC(15MSPS)

    安全保护:8x快速比较器实现μs级过流保护

    运动控制:16通道HRTimer(145ps)提供超高精度PWM

    内核性能:ARM? Cortex?-M33内核确保实时响应

    相关产品

    GD32 MCU可搭配GD30DR系列电机驱动产品,支持直流转换稳压、LDO线性稳压器、PWM控制和功率驱动等?,并提供过温、过压、过流等多重保护  ,专为机器人关节电机、伺服驱动等应用设计,构建完整的电机控制系统。   

    新利体育GD25LX系列SPI NOR Flash为承担AI决策的机器人"大脑"提供高速存储支持,而LPDDR4X产品兼容多电压、4266Mbps速率满足"小脑"运动控制单元的低延迟需求,实现机器人精准指令执行。

    MCU

    GD32F3,GD32F4,GD32G5GD32H7

    GDSCN832系列EtherCAT?从站控制器

    Analog

    GD30DRE518

    利基型DRAM

    LPDDR4X

    Flash   

    GD25Q

    GD25LX

    新利体育全线产品赋能人形机器人,提供全栈式支持

    robots.jpg

    EtherCAT?伺服从站控制系统框图

    GD32H75E-robots-735.jpg

    基于GD32H75E伺服从站控制硬件板卡

    humanoid-robot(1).jpg

    TOP

    温馨提示

    如需获取完整的新利体育网站访问体验,请先登录。

    还没有账号?立即注册

    标题

    简介
    • Accept

    • Decline

  • 【网站地图】【sitemap】